找回密码
 立即注册
澳门威尼斯人
U8
U18
海燕招商
A
蓝盾
e世博
islot.
申博亚洲
澳门银河
B
腾博会
德信
C级广告商
吉祥坊
查看: 210041|回复: 77

[彩票] 【实战有奖】今天在申博7V玩彩票赢了十几元

[复制链接]

1214

主题

3万

回帖

1355

金币

铂金用户

积分
96072

老会员交易勋章光影行者

发表于 2025-3-29 15:13 | 显示全部楼层 |阅读模式

马上注册,结交更多好友,享用更多功能,让你轻松玩转社区。

您需要 登录 才可以下载或查看,没有账号?立即注册

×
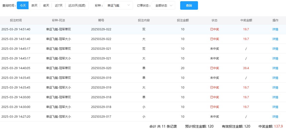
    今天又去了申博玩了一下彩票了啊。还是选择了这个幸运飞艇的啊。每注基本上都是10元了。结果还是可以的。
5 v7 @5 p6 q) g- E, `& F. i, L1 f& x% f/ s! z+ B) S4 }
    第一期看冠亚位置开了3,9于是就合12,这是大和双,所以我反买,打小和单,结果开了8,全错。一下子就输了20了啊。8 B8 s' C# d- u: W6 ^3 g2 l) g8 E3 ^
   第2期我继续下注小和单,每个10元,结果开了1,就是小和单,也就是全中。又把输的打了回来。6 s0 j+ G- J, I- M% W6 O
   第3期,我看1,5合成6,也就是小和双,于是我反买,打大和单,每个10元,结果出了6,是大和双,属于一红一黑。黑的是单,于是我第4期,直接下注20的单,不打大小了。这期结果开出1来了。也就是中了。还是不错的啊。也是挺开心的啊。至此就已经赢了十几了。5 q/ J9 e! K& q
  第5期看1,2合单去买大和双,结果开了5,竟然是全错也是无奈了啊。第6期就继续搞大和双,结果开了6,也是顺利的命中了啊。所以结果还是额可以的啊。我也是满意的啊。反正呢,也是赢了的。就这样吧。收工走人。
& f; E0 J: j; M- y, d1 g 5.JPG 6.JPG
( m: I7 R0 Q+ K% i& D% K; R
回复

使用道具 举报

252

主题

1万

回帖

2108

金币

金牌会员

积分
33419

老会员

发表于 2025-3-29 15:18 | 显示全部楼层
只要是能够赢钱,还是很不错的,希望以后都能够有个好的结果了。
回复 支持 反对

使用道具 举报

3412

主题

8万

回帖

3342

金币

海燕硕士

积分
223574

万时之王老会员精华勋章勤奋勋章交易勋章光影行者

发表于 2025-3-29 16:56 | 显示全部楼层
这次的这个彩票能够成功的赢了钱就还是非常的不错的感觉
回复 支持 反对

使用道具 举报

3412

主题

8万

回帖

3342

金币

海燕硕士

积分
223574

万时之王老会员精华勋章勤奋勋章交易勋章光影行者

发表于 2025-3-29 16:56 | 显示全部楼层
黑雨衣大盗 发表于 2025-3-29 15:18! w" X! F$ k& H+ D! }% \
只要是能够赢钱,还是很不错的,希望以后都能够有个好的结果了。

( |, ^$ X; w( ^. q9 F我们的目标还是希望能够多多盈利,还是希望能够有这种感觉的时候就多玩一些
回复 支持 反对

使用道具 举报

12

主题

3535

回帖

1648

金币

银牌会员

积分
12043

老会员

发表于 2025-3-29 18:02 | 显示全部楼层
哈哈,看你这波操作挺有意思的,刚开始亏了点,后来稳定回血。像这种幸运飞艇的,感觉挺考验眼力的。你反买的策略也不错,能打回失去的,不像有些人盲目追,结果越追越亏。
回复 支持 反对

使用道具 举报

112

主题

7979

回帖

2543

金币

金牌会员

积分
20628

老会员

发表于 2025-3-29 18:08 | 显示全部楼层
9 L$ y& `7 F  h
那就慢慢磨和赢吧,心急吃不了热豆腐的,按自己的节奏来就好
回复 支持 反对

使用道具 举报

1938

主题

3万

回帖

562

金币

铂金用户

积分
93172

万时之王老会员超级精华精华勋章勤奋勋章交易勋章

发表于 2025-3-29 18:59 | 显示全部楼层
运气还是可以的  赢钱了也是美滋滋 希望下次能够运气更好争取更多盈利
回复 支持 反对

使用道具 举报

1938

主题

3万

回帖

562

金币

铂金用户

积分
93172

万时之王老会员超级精华精华勋章勤奋勋章交易勋章

发表于 2025-3-29 19:00 | 显示全部楼层
a东序 发表于 2025-3-29 18:02" v2 E5 `0 ~* B8 ]# S2 c# t4 g  J# t
哈哈,看你这波操作挺有意思的,刚开始亏了点,后来稳定回血。像这种幸运飞艇的,感觉挺考验眼力的。你反买 ...

% w9 j. W; S4 Z# Y楼主玩彩票也是老手了 这方面也是有非常丰富的经验
回复 支持 反对

使用道具 举报

6

主题

7761

回帖

4017

金币

金牌会员

积分
31538

老会员

发表于 2025-3-29 19:23 | 显示全部楼层
有了收获了还是非常高兴的,希望是可以保持住这样的好运气
回复 支持 反对

使用道具 举报

6

主题

7761

回帖

4017

金币

金牌会员

积分
31538

老会员

发表于 2025-3-29 19:23 | 显示全部楼层
秦皇汉武 发表于 2025-3-29 19:00
5 u' r8 |; |9 |& x+ C楼主玩彩票也是老手了 这方面也是有非常丰富的经验

- h1 s$ T9 [& J5 t5 J4 A这个也是要做到见好就收的,希望是可以保持住这样的好运气
回复 支持 反对

使用道具 举报

6

主题

7761

回帖

4017

金币

金牌会员

积分
31538

老会员

发表于 2025-3-29 19:23 | 显示全部楼层
秦皇汉武 发表于 2025-3-29 18:59! y) t" ~! O, V7 y! U  I
运气还是可以的  赢钱了也是美滋滋 希望下次能够运气更好争取更多盈利
7 [0 H+ y1 ?3 ^9 j& H
这样的结果还是非常让人满意的,毕竟楼主的运气还是非常给力的
回复 支持 反对

使用道具 举报

6

主题

7761

回帖

4017

金币

金牌会员

积分
31538

老会员

发表于 2025-3-29 19:23 | 显示全部楼层
气味儿 发表于 2025-3-29 18:08
. p0 P9 ?. f( g* v: m2 Q; I那就慢慢磨和赢吧,心急吃不了热豆腐的,按自己的节奏来就好

+ H" {  _# p$ a1 w, ]5 [反正每天自己能够收获一些就行了,大家好好的努力完成就可以
回复 支持 反对

使用道具 举报

6

主题

7761

回帖

4017

金币

金牌会员

积分
31538

老会员

发表于 2025-3-29 19:24 | 显示全部楼层
气味儿 发表于 2025-3-29 18:081 s/ x# W1 ~# H" n: U
那就慢慢磨和赢吧,心急吃不了热豆腐的,按自己的节奏来就好

. y1 G6 S7 N$ [+ s. ~. H每天其实都是在不断的坚持,然后完成任务才是最终的目标
回复 支持 反对

使用道具 举报

31

主题

5597

回帖

2209

金币

银牌会员

积分
16391

老会员

发表于 2025-3-29 19:29 | 显示全部楼层
玩的很顺利结果也是轻松有收入了,这样的运气太好了
回复 支持 反对

使用道具 举报

882

主题

2万

回帖

1万

金币

铂金用户

积分
93095

老会员精华勋章魅力达人

发表于 2025-3-29 19:44 来自手机 | 显示全部楼层
有点赢就要及时收工不能恋战,如果不满足继续玩风险就大了呀。
回复 支持 反对

使用道具 举报

您需要登录后才可以回帖 登录 | 立即注册

本版积分规则

广告合作|福利汇|论坛简介|钱包教程|手机版|小黑屋|Archiver|海燕论坛

快速回复 返回顶部 返回列表