找回密码
 立即注册
澳门威尼斯人
U8
U18
海燕招商
A
蓝盾
e世博
islot.
申博亚洲
澳门银河
B
开云
腾博会
德信
C级广告商
吉祥坊
华体会
查看: 26421|回复: 74

[彩票] 【实战有奖】威尼斯人台湾宾果连挂后稳收,亏损2450止步

[复制链接]

91

主题

2万

回帖

7557

金币

铂金用户

积分
81363

老会员交易勋章魅力达人

发表于 2025-10-6 16:17 | 显示全部楼层 |阅读模式

马上注册,结交更多好友,享用更多功能,让你轻松玩转社区。

您需要 登录 才可以下载或查看,没有账号?立即注册

×
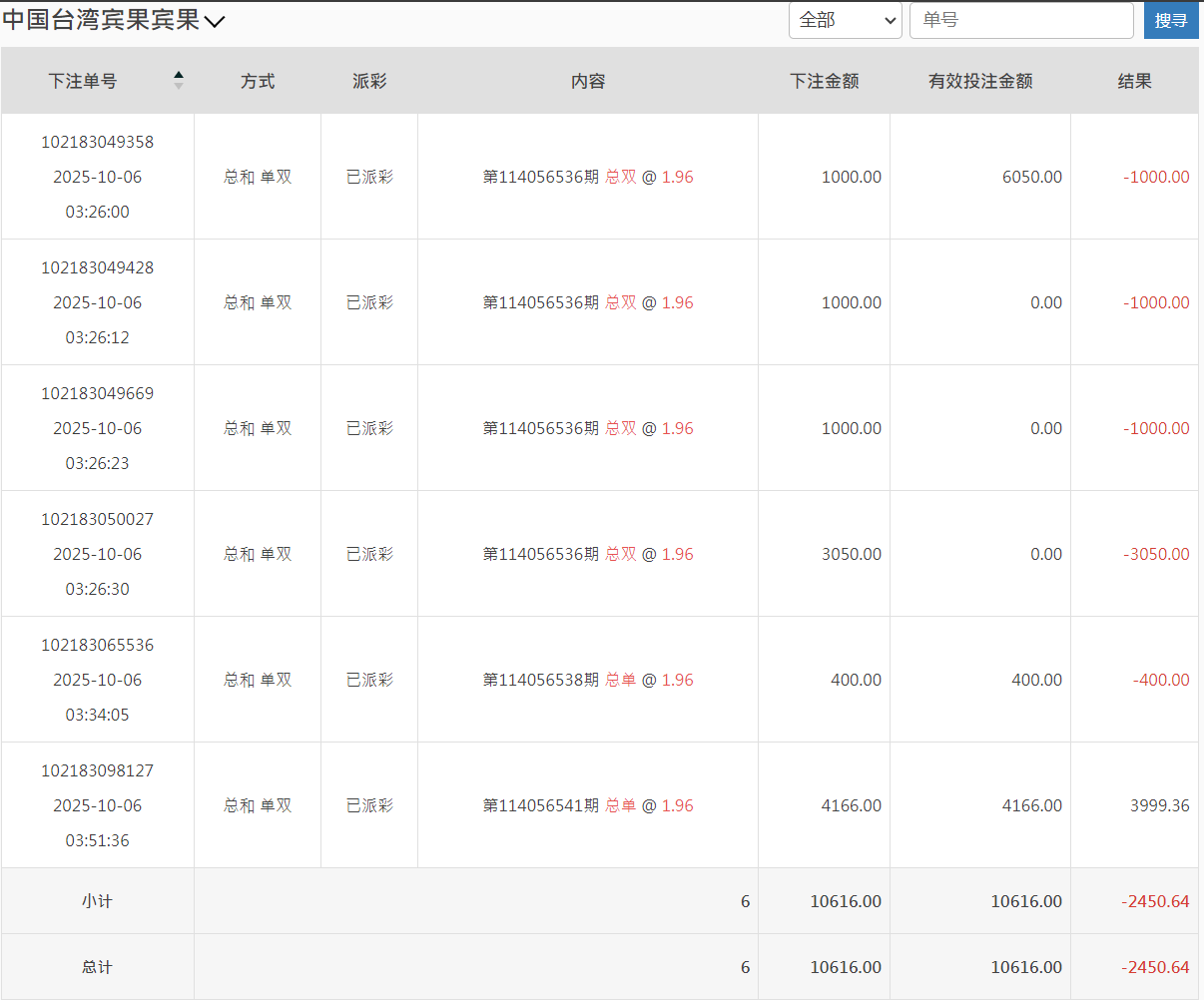
今天下午打了台湾宾果这一轮,整体过程挺曲折,但也算控制住了节奏。大概从下午三点左右开始进场,当时看走势总和“双”连开几期,手痒了,于是轻仓试单。原本打算随便玩玩,结果越看越不对劲,单双频繁切换,让人有点摸不清节奏。
* J/ w; W$ h4 y( `/ L% A- C' D. |' ?- c' Z8 ~! b
这轮总共下了六单,前几把基本都在试探走势。结果连续几期都反着来,尤其是那笔3050的“总双”,被直接吃掉,账面一口气红到三千多。那一瞬间心态确实有点晃,手差点又去补仓。后来想到之前吃亏的经验,强行让自己停手,看完那期结果就去洗了个脸。8 `3 V5 T6 i- s/ t+ C
9 n: d0 b/ t, C3 M
回来后重新看走势图,发现节奏有点回稳,于是再上两把“总单”试水。最后一单我加到4166,打的第114056541期,终于中回来了3999.36,这口气算是稳了。整盘下来,亏了2450左右,折合人民币不到两千。% C  F4 o" C& ^, Q- @

! l$ y, d9 K2 Y$ g! K( E- _账面上虽然是负的,但我个人觉得这轮打得比前几次更“成熟”——不是赢多少的问题,而是我终于没再乱追。这次BBIN那边转入了10616,转出回大厅时剩8165,虽然账面亏损,但过程有节制、心态稳,算是一次小考合格。9 Q+ K: u, F/ A
5 t( b" r4 s' U; c( T
过去我常常一看挂单就想加码“赢回来”,结果反而输更惨。现在我学会了一件事:赢钱靠机会,止损靠自律。只要不被情绪带走,长期来看反而能少损多赢。# x) d5 p1 E7 n7 V. }2 n
; B( h6 r) Q7 x- @% v8 U; w
另外,这轮台湾宾果的走势挺诡异的,总和单双跳得快,没有出现连续7期以上的连号。下午那段时间尤其乱,建议后面玩这盘口的兄弟们注意节奏,不要被短线结果误导。可以像我这样——前几期用小注探路,等走势方向稳定后再加码。
9 H* ]6 \2 `+ h( P* H5 v* B) r3 L% w' R2 p9 P/ `# Y2 {4 T& j  q& i
这次我还特地看了下注明细,总金额10616,有效投注全打满,亏损-2450.64。虽然是红的,但我反而挺高兴,因为这说明我守住了底线:没追加、没爆仓。
3 ~3 ?5 J" m, ^$ p0 h" ?* D: E  }0 q8 A6 R+ x0 g: t. {/ N9 b; V
最后总结一句:, \, f% B% X7 o+ Q$ f( b  Z
输钱不可怕,乱输才可怕;稳得住,才是真正的赢。
( G0 e* f- f5 w9 E5 {; R) i* H, b/ k' K! K; x% _7 D* s
这两天论坛不少人也在分享台湾盘的节奏,我的经验是——宁可打慢,也不要乱节奏。未来几天我会继续观察走势,等连号或规律性区间出来,再考虑加仓。今天就到这,休息一会,晚上再看情况。
; }9 w. l! o* v* `% @% _( q: z  r- r5 T0 w6 V: S8 ^
QQ20251006-160203.png QQ20251006-160102.png
4 e1 ~1 W+ ?+ G$ e" k6 F7 }. L  c, U# w# Q$ r$ `2 J
: R! k( K6 i/ i* h3 q) K6 ^6 `/ p
回复

使用道具 举报

1

主题

4994

回帖

4198

金币

金牌会员

积分
23389

老会员

发表于 2025-10-6 16:22 | 显示全部楼层
楼主亏损了还是要止损,回血了一大半还是挺不错了
回复 支持 反对

使用道具 举报

197

主题

6859

回帖

148

金币

银牌会员

积分
13995

老会员交易勋章

发表于 2025-10-6 17:56 | 显示全部楼层
你还玩这个啊,我是真没玩过这类彩票,是彩票没错吧,止损做到位就好
回复 支持 反对

使用道具 举报

8

主题

2万

回帖

1万

金币

铂金用户

积分
82237

光影行者

发表于 2025-10-6 19:37 | 显示全部楼层
3050那把真够呛,能忍住不补仓已经赢一半,节奏乱时洗脸是个好招
回复 支持 反对

使用道具 举报

3400

主题

4万

回帖

4126

金币

钻石用户

积分
116733

万时之王老会员勤奋勋章交易勋章

发表于 2025-10-6 19:48 | 显示全部楼层
老哥还是低调点吧, 亏损2450, 也是输太多了, 还是要及时收手,真不敢继续了
回复 支持 反对

使用道具 举报

3400

主题

4万

回帖

4126

金币

钻石用户

积分
116733

万时之王老会员勤奋勋章交易勋章

发表于 2025-10-6 19:49 | 显示全部楼层
蔬菜沙拉 发表于 2025-10-6 19:37
/ w( |; H9 M  m& r1 j  d3050那把真够呛,能忍住不补仓已经赢一半,节奏乱时洗脸是个好招
8 _( S  X/ O9 ?/ X0 q. `
玩菠菜还是量力而行吧, 别玩太大了, 输太多了, 也是很影响心情了。
回复 支持 反对

使用道具 举报

3400

主题

4万

回帖

4126

金币

钻石用户

积分
116733

万时之王老会员勤奋勋章交易勋章

发表于 2025-10-6 19:49 | 显示全部楼层
二电厂哥 发表于 2025-10-6 17:568 Z  J( i; L: @7 p. V
你还玩这个啊,我是真没玩过这类彩票,是彩票没错吧,止损做到位就好

2 c( Y  O/ J( Y4 l0 z" q9 a8 j亏损了2450也是输太多了, 这钱能干很多事的了啊, 也是很遗憾了。
回复 支持 反对

使用道具 举报

3400

主题

4万

回帖

4126

金币

钻石用户

积分
116733

万时之王老会员勤奋勋章交易勋章

发表于 2025-10-6 19:50 | 显示全部楼层
shunlifeiup 发表于 2025-10-6 16:22. s  T8 g4 a# K  N- \, d3 C0 m; X! b' N
楼主亏损了还是要止损,回血了一大半还是挺不错了

! C  M4 a6 V4 U3 `2 E损失惨重了呀, 输了这么多, 想回血都是很困难了啊, 还是休息冷静一下吧。
回复 支持 反对

使用道具 举报

380

主题

1563

回帖

2696

金币

铜牌用户

积分
9646

老会员交易勋章

发表于 2025-10-6 21:07 | 显示全部楼层
能够及时做到止损啊 还是很不容易的   及时调整吧!
回复 支持 反对

使用道具 举报

52

主题

2万

回帖

6829

金币

铂金用户

积分
82929

老会员光影行者

发表于 2025-10-7 02:34 | 显示全部楼层
别急着追,理性把握,稳住节奏,总会有赚钱的时候,节制至关重要
回复 支持 反对

使用道具 举报

52

主题

2万

回帖

6829

金币

铂金用户

积分
82929

老会员光影行者

发表于 2025-10-7 02:34 | 显示全部楼层
蔬菜沙拉 发表于 2025-10-6 19:37; b3 j* _; B4 Q+ t7 N8 U
3050那把真够呛,能忍住不补仓已经赢一半,节奏乱时洗脸是个好招

% Z: P, ]6 Q+ M- D3050那把确实有点狼狈,不过威尼斯人台湾宾果稳住节奏,亏损2450也算是及时止损
回复 支持 反对

使用道具 举报

2452

主题

8万

回帖

5206

金币

海燕硕士

积分
225117

老会员超级精华精华勋章美女勋章勤奋勋章交易勋章万时之王

发表于 2025-10-7 05:46 | 显示全部楼层
输掉了2000多块能够止损离开也是比较理智的一个人吧
回复 支持 反对

使用道具 举报

2452

主题

8万

回帖

5206

金币

海燕硕士

积分
225117

老会员超级精华精华勋章美女勋章勤奋勋章交易勋章万时之王

发表于 2025-10-7 05:46 | 显示全部楼层
whywhy 发表于 2025-10-7 02:34
" ~! ?1 j1 M& H  u3050那把确实有点狼狈,不过威尼斯人台湾宾果稳住节奏,亏损2450也算是及时止损 ...

* b- i2 }  H; }7 T9 Q! s! ^  s* j反正自己的节奏要把握好,不然输的就是自己的钱
回复 支持 反对

使用道具 举报

2452

主题

8万

回帖

5206

金币

海燕硕士

积分
225117

老会员超级精华精华勋章美女勋章勤奋勋章交易勋章万时之王

发表于 2025-10-7 05:46 | 显示全部楼层
whywhy 发表于 2025-10-7 02:34
) l/ T5 b; `' b0 H" J5 ^别急着追,理性把握,稳住节奏,总会有赚钱的时候,节制至关重要
- W1 j- A2 g; f2 e# E4 |
这个节奏导致的亏损也是没有办法的事,毕竟输了这么多
回复 支持 反对

使用道具 举报

2452

主题

8万

回帖

5206

金币

海燕硕士

积分
225117

老会员超级精华精华勋章美女勋章勤奋勋章交易勋章万时之王

发表于 2025-10-7 05:46 | 显示全部楼层
莫扎特06 发表于 2025-10-6 19:49
# |1 o' P+ k% T: N- `亏损了2450也是输太多了, 这钱能干很多事的了啊, 也是很遗憾了。

1 t/ q6 E. Q$ S输的太多也是要想办法把它搞回来,不然也是难受
回复 支持 反对

使用道具 举报

您需要登录后才可以回帖 登录 | 立即注册

本版积分规则

广告合作|福利汇|论坛简介|钱包教程|手机版|小黑屋|Archiver|海燕论坛

快速回复 返回顶部 返回列表