找回密码
 立即注册
澳门威尼斯人
U8
U18
海燕招商
A
蓝盾
e世博
islot.
申博亚洲
B
开云
腾博会
德信
C级广告商
吉祥坊
华体会
查看: 149092|回复: 50

[真人] 九五 百家乐

[复制链接]

1

主题

2

回帖

0

金币

新手上路

积分
3
发表于 2024-5-29 16:39 | 显示全部楼层 |阅读模式

马上注册,结交更多好友,享用更多功能,让你轻松玩转社区。

您需要 登录 才可以下载或查看,没有账号?立即注册

×
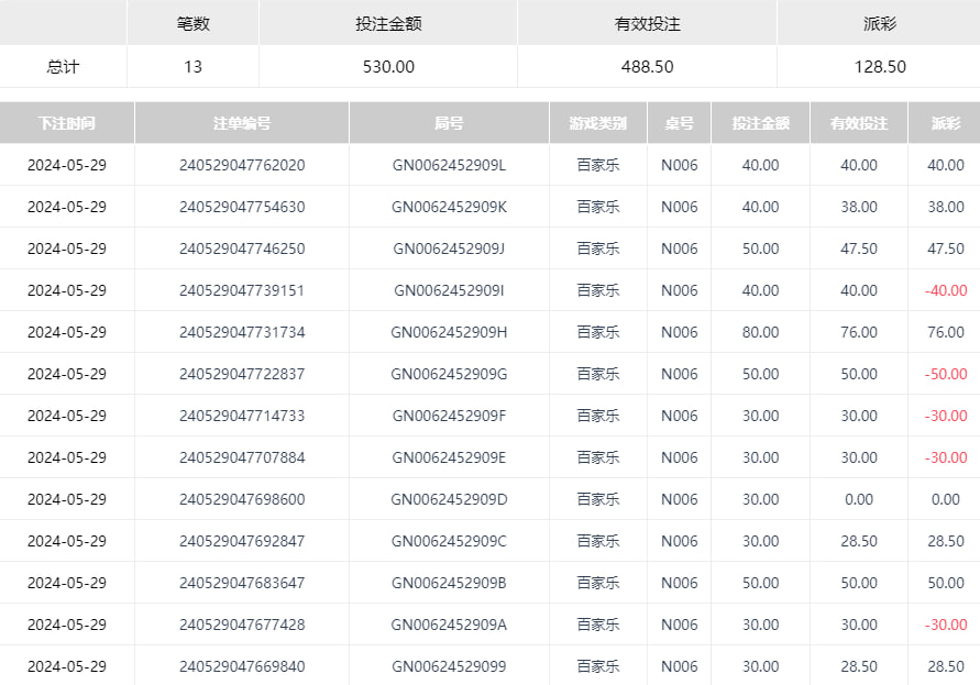
九五之尊信誉可以的。可放心投注。每天一百多就够了。不上头
photo_2024-05-29_16-38-05.jpg
photo_2024-05-29_16-38-10.jpg
回复

使用道具 举报

1万

主题

3322

回帖

8388

金币

版主

积分
44186

美女勋章优秀版主老会员版主勋章超级精华

发表于 2024-5-29 16:44 | 显示全部楼层
楼主心态是真好,能稳定到控制自己投注多少,给你的做法点赞
回复 支持 反对

使用道具 举报

252

主题

1万

回帖

1332

金币

金牌会员

积分
30703

老会员

发表于 2024-5-29 16:52 | 显示全部楼层
楼主的这个运气还是很不错的,希望以后都能够有个好的结果了。
回复 支持 反对

使用道具 举报

162

主题

1万

回帖

242

金币

金牌会员

积分
21624

老会员交易勋章魅力达人

发表于 2024-5-29 17:05 来自手机 | 显示全部楼层
楼主对自己的小目标随时调整也是相当满意啊,继续赢利奥。
回复 支持 反对

使用道具 举报

2581

主题

5万

回帖

9969

金币

钻石用户

积分
180997

万时之王老会员精华勋章勤奋勋章交易勋章

发表于 2024-5-29 17:06 来自手机 | 显示全部楼层
盈利了100多块钱挺好的了,玩得很好,继续加油多多赢钱
回复 支持 反对

使用道具 举报

2581

主题

5万

回帖

9969

金币

钻石用户

积分
180997

万时之王老会员精华勋章勤奋勋章交易勋章

发表于 2024-5-29 17:07 来自手机 | 显示全部楼层
海燕飞扬 发表于 2024-5-29 16:44$ N8 l+ s) i8 R9 }% M$ B! O: D
楼主心态是真好,能稳定到控制自己投注多少,给你的做法点赞

7 H! S- S5 V% c  F+ `楼主玩百家乐是比较稳的了,能够做到及时止盈,说明心态和控制力很好
回复 支持 反对

使用道具 举报

2581

主题

5万

回帖

9969

金币

钻石用户

积分
180997

万时之王老会员精华勋章勤奋勋章交易勋章

发表于 2024-5-29 17:08 来自手机 | 显示全部楼层
12358 发表于 2024-5-29 17:05% a: }4 w0 ^# }% {" ^4 F- {3 H& d+ p
楼主对自己的小目标随时调整也是相当满意啊,继续赢利奥。
7 q) v; Z$ }7 J# A  v9 @% Y4 r
运气不错的,有了盈利见好就收了,不贪心很好的心态
回复 支持 反对

使用道具 举报

1389

主题

5万

回帖

1万

金币

钻石用户

积分
158852

万时之王老会员勤奋勋章交易勋章

发表于 2024-5-29 17:39 | 显示全部楼层
九五之尊信誉是没问题的 ,楼主也是比较有数的 落袋为安最好了
回复 支持 反对

使用道具 举报

1507

主题

7万

回帖

1万

金币

海燕硕士

积分
236535

万时之王老会员精华勋章勤奋勋章交易勋章光影行者

发表于 2024-5-29 18:11 | 显示全部楼层
还是要祝贺一下楼主的,每天都能够这样的赚钱就爽了
回复 支持 反对

使用道具 举报

1507

主题

7万

回帖

1万

金币

海燕硕士

积分
236535

万时之王老会员精华勋章勤奋勋章交易勋章光影行者

发表于 2024-5-29 18:12 | 显示全部楼层
浴火凤凰 发表于 2024-5-29 17:08
2 o5 ~0 Y8 ~3 I5 g9 P& H; O运气不错的,有了盈利见好就收了,不贪心很好的心态

$ m- k3 e& M/ C* m' v) C. f( t这个还是要做到见好就收的,这样才能赢更多的钱呢
回复 支持 反对

使用道具 举报

3784

主题

8万

回帖

1万

金币

海燕硕士

积分
238464

万时之王老会员精华勋章勤奋勋章

发表于 2024-5-29 18:33 | 显示全部楼层
这一次还是轻轻松松的盈利了这么多果然还是把握的挺好的
回复 支持 反对

使用道具 举报

3784

主题

8万

回帖

1万

金币

海燕硕士

积分
238464

万时之王老会员精华勋章勤奋勋章

发表于 2024-5-29 18:33 | 显示全部楼层
allin 发表于 2024-5-29 17:39
- q4 ?) E7 `; c' [& z九五之尊信誉是没问题的 ,楼主也是比较有数的 落袋为安最好了
( G# |; {5 R. G
这家公司玩起来确实一点问题都没有,每天都要支持搞一搞
回复 支持 反对

使用道具 举报

3784

主题

8万

回帖

1万

金币

海燕硕士

积分
238464

万时之王老会员精华勋章勤奋勋章

发表于 2024-5-29 18:33 | 显示全部楼层
cwx1994 发表于 2024-5-29 18:11
" d- x7 V9 e, f7 R还是要祝贺一下楼主的,每天都能够这样的赚钱就爽了

) [! B* v% }4 o- G2 |7 \反正还是希望能够多赚点钱的,有的时候也不要太担心
回复 支持 反对

使用道具 举报

205

主题

7329

回帖

1600

金币

银牌会员

积分
17956

老会员光影行者

发表于 2024-5-29 18:40 | 显示全部楼层
标题该弄好一点了,这样是不太行的哦,很难看明白了
回复 支持 反对

使用道具 举报

2335

主题

7万

回帖

7625

金币

海燕硕士

积分
219782

老会员超级精华精华勋章美女勋章勤奋勋章交易勋章万时之王

发表于 2024-5-29 19:13 | 显示全部楼层
我每天也是来这里玩的呀,信誉当然是没有问题的呀,问题是要有盈利呀
回复 支持 反对

使用道具 举报

您需要登录后才可以回帖 登录 | 立即注册

本版积分规则

广告合作|评测有奖|福利汇|论坛简介|钱包合集|手机版|小黑屋|Archiver|海燕论坛

快速回复 返回顶部 返回列表