找回密码
 立即注册
澳门威尼斯人
U8
U18
海燕招商
A
蓝盾
e世博
islot.
申博亚洲
澳门银河
B
腾博会
德信
C级广告商
吉祥坊
查看: 223942|回复: 49

[彩票] 【实战有奖】今天到九五至尊玩彩票输了11块

[复制链接]

1214

主题

3万

回帖

1356

金币

铂金用户

积分
96074

老会员交易勋章光影行者

发表于 2024-7-15 13:31 | 显示全部楼层 |阅读模式

马上注册,结交更多好友,享用更多功能,让你轻松玩转社区。

您需要 登录 才可以下载或查看,没有账号?立即注册

×
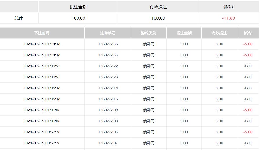
    今天去九五至尊玩了CC彩票了。选择了俄勒冈的快乐8,结果完成100流水,输了11块钱的了。
% e3 z8 f/ d  g8 A( l; u# y  l1 F# a& h' p
    今天的战斗情况总体上是不太好的了。胜率比较低了。所以会输钱。而这个胜和败呢,又是体现得比较的有特点。就是2红或者2黑比较多。反而是我以前感觉的一红一黑比较少。也是非常奇怪的啊。
9 p/ F4 q' G3 K. g  X+ P    22.JPG 33.JPG
6 W& E+ H# g" q+ b, x. x     其实,这场战斗对我来说,还是具有风险性的。因为前5期,前10手,错误的很多。10负了7。第一期出现了一红一黑,很一般。第二期和第三期竟然都是2黑。这就叫人有点心慌了。好在第4期来了一个2红,稍微缓解了一下紧张的心情。但第5期竟然又出现了2黑,心情就又一下悬起来了。第6,7两期都是一红一黑,进入平稳期。第8,9两期出现了2个两红,也是叫人一下子欢喜起来,可惜第10期又出现2黑,又输了10块回去。最后还是以输了11块钱告终。整个过程,充满了悬念。紧张,刺激。好在结果还是可以接受的。0 m. a. Q' ?0 g$ K( c6 V/ O7 D; E- p2 M6 R
    这场战斗告诉我,先输后打回的事情是会有的。不要怕前面输了。不要以为前面输了些,后面还会输得更大更多。只要稳定心态,可以避免更大的损失。
+ K) K/ P6 J3 \9 S, y- o    11.JPG
8 O. s. E! \8 W! N
回复

使用道具 举报

0

主题

9812

回帖

4749

金币

金牌会员

积分
31022

老会员

发表于 2024-7-15 13:43 | 显示全部楼层
这样的损失基本没有什么感觉了,调整一下,明天就打回来了。
回复 支持 反对

使用道具 举报

102

主题

6390

回帖

2606

金币

金牌会员

积分
20822

老会员

发表于 2024-7-15 15:40 | 显示全部楼层
战绩不是很理想,可以再调整一下再来提高胜率
回复 支持 反对

使用道具 举报

1668

主题

8万

回帖

1万

金币

海燕硕士

积分
252035

万时之王老会员精华勋章勤奋勋章交易勋章光影行者

发表于 2024-7-15 16:13 | 显示全部楼层
输钱了还是非常不开心的,不过楼主的能力相信是可以能够把输的赢回来的
回复 支持 反对

使用道具 举报

1668

主题

8万

回帖

1万

金币

海燕硕士

积分
252035

万时之王老会员精华勋章勤奋勋章交易勋章光影行者

发表于 2024-7-15 16:13 | 显示全部楼层
你说的都对 发表于 2024-7-15 13:43% \4 {% A, u3 e9 K/ s' Q% p3 I
这样的损失基本没有什么感觉了,调整一下,明天就打回来了。
- q; o: W7 Y: y% z% [5 ?
只要调整好自己的状态是可以能够轻轻松松把输的赢回来的呢
回复 支持 反对

使用道具 举报

3412

主题

8万

回帖

3342

金币

海燕硕士

积分
223574

万时之王老会员精华勋章勤奋勋章交易勋章光影行者

发表于 2024-7-15 16:21 | 显示全部楼层
就这样的情况的,亏损的也还是不多,也还是希望下一次可以有好运
回复 支持 反对

使用道具 举报

3412

主题

8万

回帖

3342

金币

海燕硕士

积分
223574

万时之王老会员精华勋章勤奋勋章交易勋章光影行者

发表于 2024-7-15 16:21 | 显示全部楼层
cwx1994 发表于 2024-7-15 16:13
) O1 T- H% x* s+ j: s- M/ z' [只要调整好自己的状态是可以能够轻轻松松把输的赢回来的呢

( x' ^/ o& k( g; _/ W$ B# G; B当然这样的状态的话,也还是非常的需要的就是可以好好的调整一下了
回复 支持 反对

使用道具 举报

3412

主题

8万

回帖

3342

金币

海燕硕士

积分
223574

万时之王老会员精华勋章勤奋勋章交易勋章光影行者

发表于 2024-7-15 16:21 | 显示全部楼层
cwx1994 发表于 2024-7-15 16:13
6 ]8 ?7 g  D! P5 ^- V' ~输钱了还是非常不开心的,不过楼主的能力相信是可以能够把输的赢回来的

" w. D, ?& y; n9 m$ m+ ~! w这样的心情的也还是可以理解的,毕竟的,也还是玩游戏多久是希望可以赢钱了
回复 支持 反对

使用道具 举报

700

主题

8249

回帖

4918

金币

金牌会员

积分
26412

老会员交易勋章

发表于 2024-7-15 17:09 | 显示全部楼层
输不到20块钱,我是没什么感觉的。我是自己要继续搏杀的
回复 支持 反对

使用道具 举报

31

主题

5597

回帖

2209

金币

银牌会员

积分
16391

老会员

发表于 2024-7-15 19:23 | 显示全部楼层
小输是没什么吧,玩的也会轻松一点了,下次跟上庄家
回复 支持 反对

使用道具 举报

68

主题

9074

回帖

1665

金币

金牌会员

积分
25971

老会员光影行者

发表于 2024-7-15 19:37 | 显示全部楼层
这样的结果还是没什么影响的,顺便自己调整一下即可
回复 支持 反对

使用道具 举报

883

主题

2万

回帖

1万

金币

铂金用户

积分
93654

老会员精华勋章魅力达人

发表于 2024-7-15 19:49 来自手机 | 显示全部楼层
楼主这一场打的还是稳的,虽然输了点但没有上头是好事的了。
回复 支持 反对

使用道具 举报

883

主题

2万

回帖

1万

金币

铂金用户

积分
93654

老会员精华勋章魅力达人

发表于 2024-7-15 19:51 来自手机 | 显示全部楼层
sc豆豆龙 发表于 2024-7-15 19:372 o" A2 Q, b3 i/ i9 }! c) B
这样的结果还是没什么影响的,顺便自己调整一下即可
1 v; i0 i8 d& f7 ?
输11元不多可以接受,楼主结束后能总结出一些经验也是很好的结果了。
回复 支持 反对

使用道具 举报

883

主题

2万

回帖

1万

金币

铂金用户

积分
93654

老会员精华勋章魅力达人

发表于 2024-7-15 19:52 来自手机 | 显示全部楼层
cwx1994 发表于 2024-7-15 16:13
4 v$ e5 b' ?# t4 y  F7 L只要调整好自己的状态是可以能够轻轻松松把输的赢回来的呢

; p- P; p2 ]  f$ f4 q4 @/ m我也这样认为,输的时候不要影响自己的情绪,迅速调整好心态还是可以赢回来的。
回复 支持 反对

使用道具 举报

68

主题

9074

回帖

1665

金币

金牌会员

积分
25971

老会员光影行者

发表于 2024-7-15 20:00 | 显示全部楼层
傻傻狠有福 发表于 2024-7-15 19:23. [/ b4 y( C5 I+ ?. ]
小输是没什么吧,玩的也会轻松一点了,下次跟上庄家

6 }  @# Q9 P" e# L( @) H确实是这么一个情况,没对亏损的情况还是可以的呀
回复 支持 反对

使用道具 举报

您需要登录后才可以回帖 登录 | 立即注册

本版积分规则

广告合作|福利汇|论坛简介|钱包教程|手机版|小黑屋|Archiver|海燕论坛

快速回复 返回顶部 返回列表